傳統壓力容器端板適配器

iLEC?陶氏膜元件與傳統壓力容器端板適配器完全兼容,在仍使用傳統壓力容器端板適配器安裝iLEC陶氏膜元件的最后一支膜元件(1)時,須保證膜元件的下游端面頂住抗應力器(2),這樣膜元件才能被壓力容器適配器(3)及抗應力器同時有效地支撐住。

iLEC端面自鎖連接壓力容器端板適配器
如下圖所示,安裝陶氏膜元件的最后一支膜元件(1)時,須保證膜元件的下游端面頂住抗應力器(2),這樣膜元件才能被壓力容器適配器(3)及抗應力器同時有效地支撐住。

特別提醒:
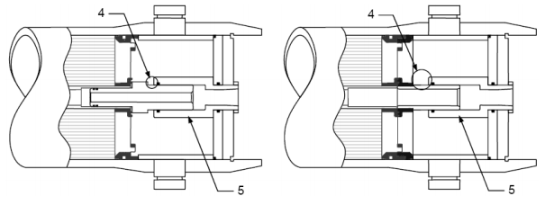
如下圖所示,若將陶氏膜元件進水方向安裝反了,在壓力容器端板出水口(5)和端板適配器之間將會出現較大間隙(4),運行時該陶氏膜元件無法得到恰當的支撐分散水流的推力,將會發生望遠鏡狀膜元件損壞。

傳統壓力容器端板適配器
陶氏膜元件與傳統壓力容器端板適配器完全兼容,最后一支膜元件(1)的下游端面須頂住抗應力器(2),這樣膜元件才能有效地被壓力容器適配器(3)及抗應力器同時支撐住。